



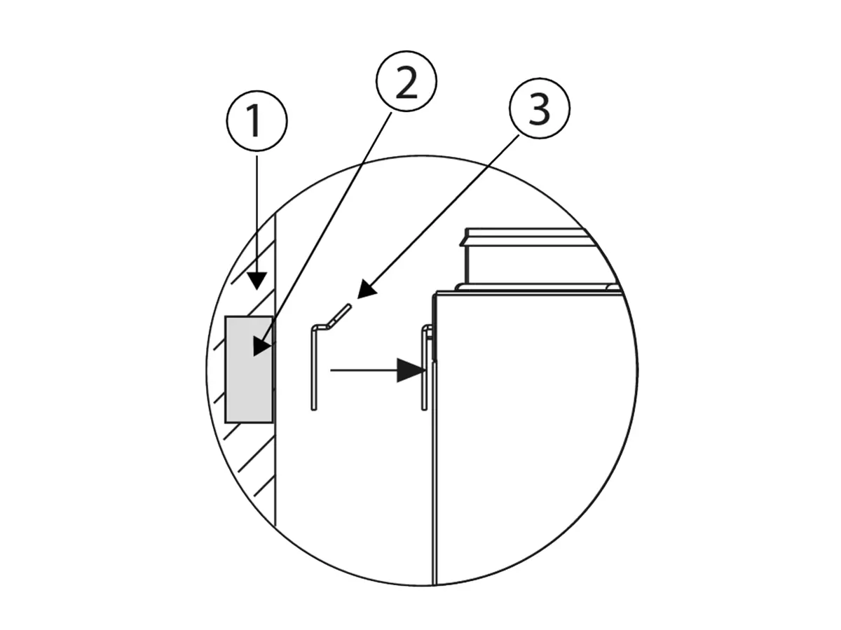
Wall Mounting Bracket
Wall mounting brackets for CASA ventilation units
- Wall mounting bracket WRWMB for R3 / R5 /W3 / W4/W5
Filter
Uitgebreide en gedetailleerde productinformatie voor de beste selectie en integratie in projectontwerp
Installatie-, bedrijfs- , onderhouds- en veiligheidsinstructies
Onze producten en diensten, gemakkelijk toegankelijk
Verklaringen, certificaten, enz
Bedradingsschema's, hydraulische schema's, enz
Document | Artikel | Documenttype | Downloaden |
---|---|---|---|
Quick Guide - AHU (pdf 4.77MB) | GOLD, SILVER C, COMPACT, GLOBAL, ESENSA, CLASS UNIT, CASA, MURAL | Brochure | |
Productcatalogus 2025 (pdf 9.62MB) | Swegon CASA | Technische brochure | |
Quick guide - AHU (pdf 4.76MB) | GOLD, SILVER C, COMPACT, GLOBAL, ESENSA, CLASS UNIT, CASA, MURAL | Brochure |